Skip to content
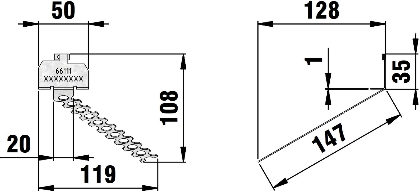
Article No. 66111

Further accessories

Vertical fixing anchor, galvanised, Type 45 (all widths)

Available from stock

Questions?

Our experienced planning team will be happy to help you.

Get in touch

Product image

Technical drawing

Drawing (CAD)

Technical information and metrics

Article No.
66111
Length
Width
Height
Inlay depth
20 mm
Weight
Material
Intake cross-section
Inlet opening
mm
Material grating
Sales text
Caillebotis 30/10 mm, galva, cl. A 15, pour Regard TERRAFIX STEEL 300 / TERRAFIX POINT Collecteur type 30/30
Product description
Caillebotis 30/10 mm, galva, cl. A 15, pour Regard TERRAFIX STEEL 300/ TERRAFIX POINT Collecteur type 30/30, L/l 290x290 mm, Art. 65327
Packaging unit
300